Nemrég előkerült egy Apple által benyújtott szabadalom, amelyben egy speciális tok szerepel. Ez a tartozék felnyitható antennákkal javítaná az iPhone-ok és iPadek műholdas kapcsolatát. Bár a technológia ígéretes, és a tok rádiófrekvenciás vagy NFC-kapcsolaton keresztül kommunikálna a készülékkel, egyelőre kérdéses, hogy az ötlet valaha is kereskedelmi forgalomban kapható termékké alakul.
Ezt a bizonyos szabadalmat az Apple 2024-ben nyújtotta be, és a leírás egy műholdas kommunikációs képességekkel rendelkező elektronikus eszközről tesz említést. A tervek szerint az iPhone-okhoz és az iPadekhez egyaránt használható, levehető kiegészítő több és jobb minőségű antennát tartalmazna, így fokozva a műholdas kapcsolat jelerősségét.
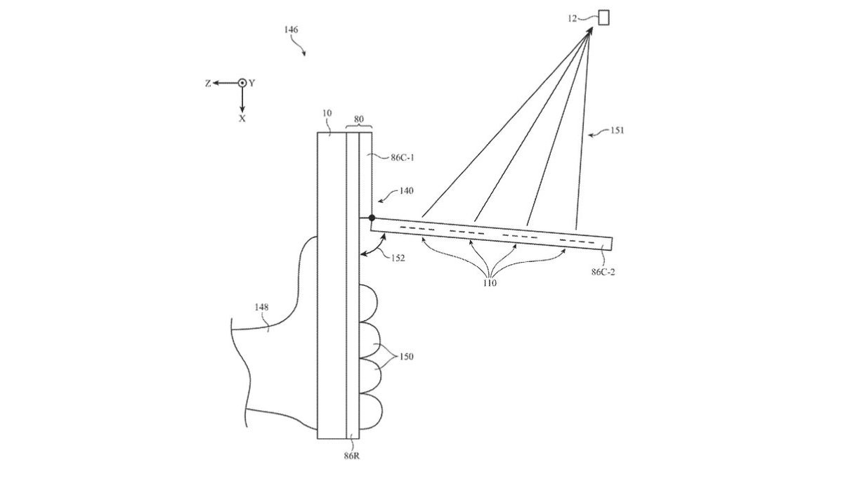
A dokumentációhoz csatolt vázlatok alapján a tok egy felnyitható résszel rendelkezne, amely a belső fázisvezérelt antennarendszert közvetlenül az ég felé fordítaná a jobb vétel eléréséhez. A kialakítás egyúttal azt is megakadályozná, hogy a felhasználó a telefon markolásával leárnyékolja a jelet, hiszen a felnyitható, antennákat rejtő részhez nem kell hozzáérni.
A speciális antennarendszer révén a tok egyszerre egy teljes műholdcsoporthoz is képes lenne csatlakozni. A kiegészítő a mindennapokban egy hagyományos, könnyen felhelyezhető és eltávolítható tartozékként funkcionálna, amely az Apple elképzelései szerint rádiófrekvenciás vagy egyéb megoldásokon, például NFC-n keresztül továbbítaná vezeték nélkül az adatokat a készülék felé.
Azt azért érdemes megjegyezni, hogy a technológiai vállalatok, köztük az Apple is, rendszeresen védetnek le olyan koncepciókat, amelyekből aztán semmi nem lesz. Ezek a szabadalmak gyakran inkább csak a technológiai lehetőségek bizonyítékai, így bár a műholdas tok ötlete rendkívül érdekes, közel sem biztos, hogy kézzelfogható termék lesz belőle. Mondjuk abban biztosak vagyunk, hogy Steve Jobs soha nem engedett volna egy ilyen kihajtható tokot megjelenni, a koncepció valahogy nem igazán Apple-ös.
Forrás: GSMArena


